MS90728-64 BOLT, HEX HEAD
Part #: MS90728-64 ; B1821BH038C150N
Description: BOLT, HEX HEAD, 3'8-16 X 1.50
NSN: 5305-00-725-2317 ; 5305007252317

| Pos. # | Image | NSN | Part Number | Description |
| 1 |
|
2910-01-411-2124 | 12460104 | TANK ASM, FUEL, ENGINE |
| 2 |
|
5310-01-102-3270 | 2436161 | .WASHER, FLAT 1/4 |
| 3 |
|
5310-00-061-4650 | MS51943-31 | .NUT, SELF-LOCKING HEX 1/4-20 |
| 4 |
|
5325-01-210-2870 | F6TZ9B076A-A | .GROMMET, NONMETALLIC |
| 5 |
|
4820-01-210-3488 | 346-786 | .VALVE, VENT |
| 6 |
|
4710-01-359-2956 | 12338548-2 | .TUBE ASSY, METAL |
| 7 | 4710-01-188-6050 | 5574872 | .TUBE ASSY, METAL | |
| 8 | 4710-01-186-9617 | 12338549 | .TUBE ASSY, METAL | |
| 9 | 2910-01-184-2159 | 12338567 | .PLATE ASSY, FUEL | |
| 10 | 5330-01-194-0473 | 12338585 | .GASKET | |
| 11 | 4730-01-189-8854 | 25055210 | .STRAINER BODY, SEDIMENT | |
| 12 | ![]() |
4730-01-091-2809 | 8-6 100302BA | .ELBOW, PIPE TO TUBE |
| 13 | ![]() |
2910-01-447-3911 | 12460105 | .TANK, FUEL, ENGINE |
| 14 | ![]() |
5340-01-244-5765 | 5597286 | .PLUG, PROTECTIVE, DUST AND MOISTURE SEAL |
| 15 |
|
2910-01-186-6038 | 5584341 | .RETAINER, FUEL TANK |
| 16 | ![]() |
4730-01-119-6895 | 272NTA-8-6 | .TEE, PIPE TO TUBE |
| 17 | 5330-01-409-1981 | 12460108-5 | SEAL,NONMETALLIC CH MAKE FROM 1 SEAL,P/N 12460108-3, 5.50 INCHES LONG | |
| 18 | ![]() |
5340-01-186-9606 | 12338568 | BAND, RETAINING |
| 19 |
|
5365-01-456-0730 | 12469055 | SPACER, RING |
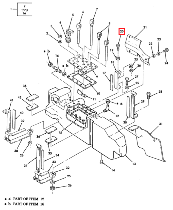
| 20 |
|
5305-00-725-2317 | B1821BH038C150N | SCREW, CAP, HEXAGON H 3/8-16 |
| 21 | 2510-01-444-3360 | 12460143 | SHIELD, SAFETY, FUEL | |
| 22 |
|
5310-00-809-4058 | MS27183-10 | WASHER, FLAT |
| 23 |
|
5310-00-637-9541 | MS35338-46 | WASHER, LOCK |
| 24 |
|
5305-01-211-1450 | 9415857 | SCREW,MACHINE 1/4-28 X .62 |
| 25 | 5310-01-412-4013 | 2436163 | WASHER,FLAT 3/8 | |
| 26 |
|
5310-00-761-0654 | MS51967-9 | NUT,PLAIN,HEXAGON 3/8-16 |
| 27 |
|
5306-01-411-2338 | 12460145-1 | BOLT,MACHINE 3/8-16 X 2.25 |
| 28 |
|
5306-01-411-2339 | 6000351 | BOLT,MACHINE 3/8-16 X 2.00 |
| 29 | ![]() |
5340-01-408-5851 | 6000300 | BAND,RETAINING INNER,FRONT |
| 30 |
|
5330-01-409-1981 | 6000333 | SEAL,NONMETALLIC CH MAKE FROM 1 SEAL,P/N 12460108-3,9.20 INCHES LONG |
| 31 | ![]() |
2910-01-412-0047 | 12460102 | SHIELD,FUEL TANK |
| 32 |
|
5340-01-191-0748 | 12338571 | BAND,RETAINING BOTTOM,FRONT |
| 33 |
|
5330-01-409-1981 | 6000334 | SEAL,NONMETALLIC CH MAKE FROM 1 SEAL,P/N 12460108-3,7.70 INCHES LONG |
| 34 |
|
5330-01-409-1981 | 6000332 | SEAL,NONMETALLIC CH FRONT |
| 35 |
|
5330-01-186-7757 | 12338557-1 | RUBBER STRIP |
| 36 |
|
5365-01-456-5637 | 6007339 | SPACER,PLATE |
| 37 |
|
5340-01-191-0746 | 5582412 | BAND,RETAINING OUTER,FRONT |
| 38 | ![]() |
5340-01-190-5100 | 12338574 | STRAP,RETAINING BOTTOM REAR |
| 39 |
|
5330-01-410-9840 | 6000331 |
SEAL,NONMETALLIC CH REAR |
| 40 |
|
5330-01-420-0705 | 6000329 |
SEAL,NONMETALLIC CH REAR |
| 41 | ![]() |
5340-01-193-0251 | 12338575 | BRACKET,ANGLE OUTER,REAR |
| 42 |
|
5330-01-187-5148 | 12338557-2 | RUBBER STRIP |








